Ga naar de hoofdinhoud Ga naar de zoekopdracht Ga naar de hoofdnavigatie
Gratis verzending vanaf 399 €
Servicepartner voor meer dan 50 fabrikanten
Meer dan 40.000 reserveonderdelen in het assortiment
+10 jaar ervaring

Drooff Sondrio 3 Zijsteen rechts

Zijsteen /  brandkamersteen / verbrandingskamersteen / zijsteen uit het binnenwerk / binnensteen zijkant / zijwand

 

Productinformatie "Drooff Sondrio 3 Zijsteen rechts"

Origineel Zijsteen rechts voor de Houtkachel Drooff Sondrio 3

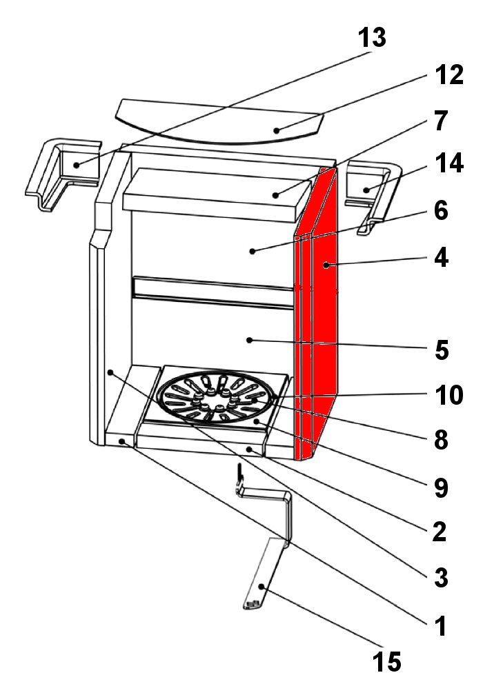
Drooff Sondrio 3 Zijsteen rechts Kerngegevens:

  • brandkamersteen, zijsteen uit het binnenwerk
  • Afmetingen (B/L/H) 280 mm x 448 mm x 30 mm
  • Materiaal Chamotte
  • Vorm rechthoekig
  • Positie 4 in de exploderende weergave
Eigenschaften "Drooff Sondrio 3 Zijsteen rechts"
Fabrikant: Drooff
Materiaal: Chamotte
Model: Sondrio
Onderdeel art: Zijsteen
Type: 3
Vorm: rechthoekig

EU-vertegenwoordiger

Drooff Kaminöfen GmbH & Co. KG
Keffelker Straße 40
59929 Brilon
DE
info@drooff-kaminofen.de

Vergelijkbare producten

Drooff Sondrio 3 Glasruit
Origineel Glasruit voor de Houtkachel Drooff Sondrio 3 Drooff Sondrio 3 Glasruit Kerngegevens: kachelruit, venster Afmetingen (B/L/H) 328 mm x 442 mm x 4 mm Booglengte 347 mm Vorm gebogen hittebestendig
Productnummer: 01006524

€ 1.227,73*

Levertijd ca. 2-3 weken

Drooff Sondrio 3 glasruit afdichting
glasruit afdichting voor de Houtkachel Drooff Sondrio 3 Drooff Sondrio 3 glasruit afdichting Kerngegevens: pakking voor glasruit, afdichtingskoord Platte pakking Afmetingen (B/H) 8 mm x 2 mm Lengte 4,00 m zelfklevend
Productnummer: 01030694

Inhoud: 4 meter (€ 10,69* / 1 meter)

€ 42,77*

Beschikbaar, levertijd: 4-6 dagen

Drooff Sondrio 3 Deurafdichting
Deurafdichting voor de Houtkachel Drooff Sondrio 3 Wij adviseren een kleefstof als montagehulp. Wij bieden ook afdichtingsbindapparaten en een afdichtingsmanchet voor de afdichtingskoordeinden aan. Drooff Sondrio 3 Deurafdichting Kerngegevens: afdichtingskoord, kachelkoord Koordafdichting Lengte 3,00 m Diameter 10 mm
Productnummer: 01030703

Inhoud: 3 meter (€ 22,28* / 1 meter)

€ 66,83*

Beschikbaar, levertijd: 4-6 dagen

Nog 1 op voorraad!
Drooff Sondrio 3 Asrooster
Origineel Asrooster voor de Houtkachel Drooff Sondrio 3 Drooff Sondrio 3 Asrooster Kerngegevens: gietijzeren rooster, grondrooster Afmetingen (H) 18 mm Diameter 200 mm Materiaal Gieten Positie 8 in de exploderende weergave
Productnummer: 01030707

€ 122,97*

Beschikbaar, levertijd: 4-6 dagen

Drooff Sondrio 3 binnenwerk
Origineel binnenwerk voor de Houtkachel Drooff Sondrio 3 De gegoten achterplaat aan de onderkant (pos. 5) is niet bij de levering inbegrepen. 7-delige set Drooff Sondrio 3 binnenwerk Kerngegevens: Bekleding vuurhaard, bakstenen verbrandingskamer Materiaal chamotte Bodemsteen vooraan (229 x 49 x 26 mm) Bodemsteen links (52 x 278 x 26 mm), Bodemsteen rechts (52 x 278 x 26 mm) Zijsteen links (280 x 448/392 x 30 mm), zijsteen rechts (448 x 280 x 30 mm) Achterste muur steen boven (386 x 251 x 30 mm) Ondertrekafbuiging (312 x 200 x 30 mm) Posities 1, 2, 3, 4, 6, 7 in de exploded view
Productnummer: 01030804

€ 518,61*

Levertijd ca. 2-3 weken