Ga naar de hoofdinhoud Ga naar de zoekopdracht Ga naar de hoofdnavigatie
Gratis verzending vanaf 399 €
Servicepartner voor meer dan 50 fabrikanten
Meer dan 40.000 reserveonderdelen in het assortiment
+10 jaar ervaring

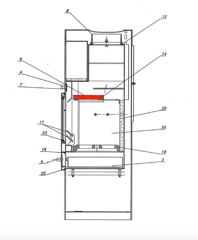
Fireplace Luxemburg vlamplaat A

vlamplaat /  rookgasomleiding / scheidingswand / rookafleider / omleiding / vlamplaat / spanningsomleiding / deflector / remplaat

 

Productinformatie "Fireplace Luxemburg vlamplaat A"

Origineel vlamplaat A voor de Houtkachel Fireplace Luxemburg

  • Er zijn verschillende versies van de Open haard Luxemburg. Oriënteer u a.u.b. aan de hand van de positie van de treinafbuiging in het apparaat (recht of diagonaal geplaatst).
  • De ervaring leert dat dit artikel geschikt is voor apparaten met een rechte Spanningsomleiding.

Fireplace Luxemburg vlamplaat Kerngegevens:

  • scheidingswand, spanningsomleiding
  • Afmetingen (B/L/H) 385 mm x 203 mm x 5/40 mm
  • Materiaal Staal
  • Positie 14 in de exploderende weergave
Eigenschaften "Fireplace Luxemburg vlamplaat A"
Fabrikant: Fireplace
Materiaal: Staal
Model: Luxemburg
Onderdeel art: vlamplaat

EU-vertegenwoordiger

Fireplace Kft.
Vértanúk tere 4
2800 Tatabánya
HU
info@fireplace.de

Vergelijkbare producten

Fireplace Luxemburg Asrooster
Origineel Asrooster voor de Houtkachel Fireplace Luxemburg Stopgezette artikelen, alleen zolang de artikelen op voorraad zijn Fireplace Luxemburg Asrooster Kerngegevens: vuurrooster, verbrandingskamerrooster Diameter 199 mm Sterkte 11 mm Materiaal Gieten Roosterlager is niet inbegrepen
Productnummer: 01022548

€ 112,03*¹

Levertijd ca. 2-3 weken

Uitverkocht
Fireplace Luxemburg Glasruit
Origineel Glasruit voor de Houtkachel Fireplace Luxemburg De fabrikant heeft de productie van dit artikel stopgezet. Als we een resterende voorraad hebben, is dit reserveonderdeel bij ons verkrijgbaar. Fireplace Luxemburg Glasruit Kerngegevens: kijkvenster, venster Afmetingen (B/L/H) 220 mm x 297 mm x 4 mm Materiaal Glas Vorm vlak hittebestendig Positie 6 in de exploderende weergave
Productnummer: 01022849

€ 68,05*¹

niet langer verkrijgbaar, productie stopgezet

Fireplace Luxemburg vuurbak
Origineel vuurbak voor de Houtkachel Fireplace Luxemburg Fireplace Luxemburg vuurbak Kerngegevens: bodem plaat voor rooster, schudrooster bak Afmetingen (B/L/H) 230 mm x 230 mm x 27 mm Materiaal Gieten
Productnummer: 01022980

€ 97,09*¹

Levertijd ca. 2-3 weken