Ga naar de hoofdinhoud Ga naar de zoekopdracht Ga naar de hoofdnavigatie
Gratis verzending vanaf 399 €
Servicepartner voor meer dan 50 fabrikanten
Meer dan 40.000 reserveonderdelen in het assortiment
+10 jaar ervaring

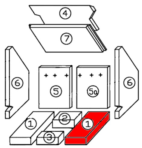
Justus Bavaria Bodemsteen rechts C

Bodemsteen /  Brandkamersteen / Verbrandingskamersteen

 

Productinformatie "Justus Bavaria Bodemsteen rechts C"

Origineel Bodemsteen rechts C voor de Houtkachel Justus Bavaria Type 6347

  • Er zijn verschillende vuurkistbekledingen voor de Beieren. Zie de afmetingen van de brandkamerstenen.
  • Meestal maakt deze brandkamersteen deel uit van de baksteenbekleding C, die zich onderscheidt door de geperforeerde achterwandsteen aan de linkerkant (209x254x25 mm).

Justus Bavaria Type 6347 Bodemsteen rechts Kerngegevens:

  • Brandkamersteen, Verbrandingskamersteen
  • Vermiculietstenen
  • Afmetingen (B/L/H) 120 mm x 268 mm x 30 mm
  • Materiaal Vermiculiet
  • Positie 1 in de exploderende weergave
Eigenschaften "Justus Bavaria Bodemsteen rechts C"
Fabrikant: Justus
Materiaal: Vermiculiet
Model: Bavaria
Onderdeel art: Bodemsteen
Type 2: Type 6347

EU-vertegenwoordiger

Justus GmbH
Sechsheldener Straße 122
35708 Haiger-Sechshelden
DE
info@justus.de

Vergelijkbare producten

Nog 5 op voorraad!
Justus Bavaria vlamplaat boven C
Origineel vlamplaat boven C voor de Houtkachel Justus Bavaria Er zijn verschillende vuurkistbekledingen voor de Beieren. Meestal maakt deze verbrandingskamersteen deel uit van de baksteenbekleding C, waarvan het opvallende kenmerk de geperforeerde achtermuursteen links is (209 x 254 x 25 mm). De fabrikant heeft de Spanningsomleiding aan de lange zijde, die aan de rechter- en linkerzijde een inkeping heeft, gewijzigd. Door de fabrikant is het mogelijk dat u de voorganger ontvangt Justus Bavaria vlamplaat boven Kerngegevens: scheidingswand, remplaat Afmetingen (B/L/H) 425 mm x 285 mm x 25 mm Materiaal Grenamat Positie 4 in de exploderende weergave
Productnummer: 01001777

€ 69,70*

Beschikbaar, levertijd: 4-6 dagen

Justus Bavaria Glasruit C
Origineel Glasruit C voor de Houtkachel Justus Bavaria Geschikt voor Serie I, alle kleurvarianten Justus Bavaria Glasruit Kerngegevens: glaskeramiek, glasplaat Afmetingen (B/L/H) 300 mm x 365 mm x 4 mm Materiaal Glas Vorm rechthoekig hittebestendig Positie 2 in de exploderende weergave
Productnummer: 01008453

€ 168,08*

Levertijd ca. 2-3 weken

Justus Bavaria Asrooster
Origineel Asrooster voor de Houtkachel Justus Bavaria Justus Bavaria Asrooster Kerngegevens: verbrandingskamerrooster, grondrooster Afmetingen (B/L/H) 135 mm x 135 mm x 30 mm Materiaal Gieten
Productnummer: 01016587

€ 60,30*

Beschikbaar, levertijd: 4-6 dagen

Nog 9 op voorraad!
Justus Bavaria vlamplaat onder C
Origineel vlamplaat onder C voor de Houtkachel Justus Bavaria Er zijn verschillende vuurkistbekledingen voor de Beieren. Zie de afmetingen van de brandkamerstenen. Meestal maakt deze verbrandingskamersteen deel uit van de baksteenbekleding C, waarvan het opvallende kenmerk de geperforeerde achtermuursteen links is (209 x 254 x 25 mm). Justus Bavaria vlamplaat onder Kerngegevens: rookafleider, deflector Afmetingen (B/L/H) 420 mm x 205 mm x 30 mm Materiaal Grenamat Positie 7 in de exploderende weergave
Productnummer: 01016591

€ 69,70*

Beschikbaar, levertijd: 4-6 dagen

Nog 2 op voorraad!
Justus Bavaria Deurafdichting Set
Deurafdichting Set voor de Houtkachel Justus Bavaria 5-delige set Justus Bavaria Deurafdichting Kerngegevens: Afdichtband, afdichtkoord Koordafdichting Lengte 2m Diameter 10 mm Lijm sleutelgegevens: 1 stuk Inhoud 17ml hittebestendig Kerngegevens afdichtingsmanchet: 1 stuk Diameter 10 mm Pakkingbinder 2 stroken
Productnummer: 01018344

€ 45,82*

Beschikbaar, levertijd: 4-6 dagen

Justus Bavaria glasruit afdichting C
glasruit afdichting C voor de Houtkachel Justus Bavaria Type 4632-6 Justus Bavaria Type 4632-6 glasruit afdichting Kerngegevens: verzegel, glaslint Zelfklevende afdichting Afmetingen (B/H) 10 mm x 2 mm Lengte 3,00 m zelfklevend
Productnummer: 01018639

Inhoud: 3 meter (€ 10,85* / 1 meter)

€ 32,55*

Beschikbaar, levertijd: 4-6 dagen

Justus Bavaria binnenwerk C
Origineel binnenwerk C voor de Houtkachel Justus Bavaria Type 4634-7 Opvallend aan deze baksteenbekleding is de geperforeerde achtermuursteen links (209 x 254 x 25 mm). 10-delige set Justus Bavaria Type 4634-7 binnenwerk Kerngegevens: Materiaal Grenamat Bodemsteen voorzijde (135 x 43 x 30 mm), Bodemsteen achterzijde (135 x 89 x 30 mm) Bodemsteen links (120 x 268 x 30 mm), Bodemsteen rechts (120 x 268 x 30 mm) Zijsteen links (265 x 254/393 x 25 mm), zijsteen rechts (265 x 254/393 x 25 mm) geperforeerde Achterste muur steen links (209 x 254 x 25 mm), geperforeerde Achterste muur steen rechts (209 x 254 x 25 mm) Kabeldoorbuiging onder (420 x 205 x 30 mm), kabeldoorbuiging boven (425 x 264 x 25 mm) Posities 1, 2, 3, 4, 5, 5a, 6 en 7 in de exploded view
Productnummer: 01020061

€ 403,10*

Levertijd ca. 2-3 weken

Justus Bavaria Bodemsteen Set C
Origineel Bodemsteen Set C voor de Houtkachel Justus Bavaria Type 4634-7 Meestal maakt deze brandkamersteen deel uit van de baksteenbekleding C, die zich onderscheidt door de geperforeerde achterwandsteen aan de linkerkant (209x254x25 mm). 4-delige set Justus Bavaria Type 4634-7 Bodemsteen Kerngegevens: 4 stukken Stenen set vloer, stenen set verbrandingskamer horizontaal Materiaal vermiculiet Bodemsteen voorzijde (135 x 43 x 30 mm), Bodemsteen achterzijde (135 x 89 x 30 mm) Bodemsteen links (120 x 268 x 30 mm), Bodemsteen rechts (120 x 268 x 30 mm) Posities 1, 2 en 3 in de explosietekening
Productnummer: 01021143

€ 170,19*

Levertijd ca. 2-3 weken

Nog 1 op voorraad!
Justus Bavaria Zijsteen Set C
Origineel Zijsteen Set C voor de Houtkachel Justus Bavaria Type 6347 Meestal maakt deze brandkamersteen deel uit van de baksteenbekleding C, die zich onderscheidt door de geperforeerde achterwandsteen aan de linkerkant (209x254x25 mm). 4-delige set Justus Bavaria Type 6347 Zijsteen Kerngegevens: 4 stukken Stenen set zijkant, stenen set verbrandingskamer zijkant Materiaal vermiculiet Zijsteen links (265 x 254/393 x 25 mm), zijsteen rechts (265 x 254/393 x 25 mm) geperforeerde Achterste muur steen links (209 x 254 x 25 mm), geperforeerde Achterste muur steen rechts (209 x 254 x 25 mm) Posities 5, 5a en 6 in de explosietekening
Productnummer: 01022751

€ 211,44*

Beschikbaar, levertijd: 4-6 dagen