Lotus M4 Zijsteen rechts achteraan A
Zijsteen / brandkamersteen / verbrandingskamersteen / zijsteen uit het binnenwerk / binnensteen zijkant / zijwand
€ 38,71*
                                            
                            Inhoud:
                        
                    
                                            
                            1 stuks
                        
                    
                                    
                        
                            
                            
                    Productnummer:
                
            
                            
                
                    01026975
                
                    
                        
    
                                niet langer verkrijgbaar, productie stopgezet
                                    
                    Productnummer:
                
            
                                    
                
                    01026975
                
                            
                    
        
    
                        
                        
    
    Productinformatie "Lotus M4 Zijsteen rechts achteraan A"
Origineel Zijsteen rechts achteraan A voor de Lotus M4
- De fabrikant heeft de productie van dit artikel stopgezet. Als we een resterende voorraad hebben, is dit reserveonderdeel bij ons verkrijgbaar.
- Alleen voor de M-modellen tot en met modeljaar 07/2006
Lotus M4 Zijsteen rechts achteraan Kerngegevens:
- brandkamersteen, verbrandingskamersteen
- Afmetingen (B/L/H) 120 mm x 400 mm x 25 mm
- Materiaal Chamotte
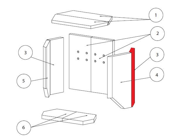
- Positie 3 in de exploderende weergave
                                                                                                        Eigenschaften "Lotus M4 Zijsteen rechts achteraan A"
                                                            
                                            
                                                                | Fabrikant: | Lotus | 
|---|---|
| Materiaal: | Chamotte | 
| Model: | M4 | 
| Onderdeel art: | Zijsteen | 
EU-vertegenwoordiger
Lotus Heating Systems A/S ©Agertoften 6
5550 Langeskov
DK
info@lotusstoves.com
_400x400.webp?ts=1757318842) 
                                    _400x400.webp?ts=1757318576) 
                                    _400x400.webp?ts=1757319741) 
                                    _400x400.webp?ts=1757319902) 
                                    _400x400.webp?ts=1757318666) 
                                    _400x400.webp?ts=1757318492) 
                                    _400x400.webp?ts=1757320201) 
                                    _400x400.webp?ts=1757320249) 
                                     
                                        