Ga naar de hoofdinhoud Ga naar de zoekopdracht Ga naar de hoofdnavigatie
Gratis verzending vanaf 399 €
Servicepartner voor meer dan 50 fabrikanten
Meer dan 40.000 reserveonderdelen in het assortiment
+10 jaar ervaring

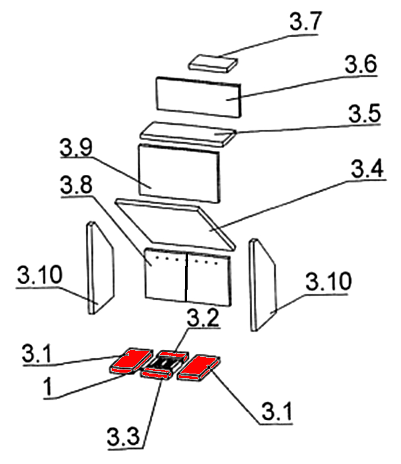
Oranier Skagen Bodemsteen Set B

Bodemsteen /  Brandkamersteen / Verbrandingskamersteen

 

Productinformatie "Oranier Skagen Bodemsteen Set B"

Origineel Bodemsteen Set B voor de Houtkachel Oranier Skagen Type 4651

  • Er zijn verschillende baksteenbekledingen voor dit model. Raadpleeg de serie van uw apparaat.
  • De ervaring heeft geleerd dat deze brandkamerstenen geschikt zijn voor serie 2.
  • 4-delige set

Oranier Skagen Type 4651 Bodemsteen Kerngegevens:

  • 4 stukken
  • Stenen set vloer, stenen set verbrandingskamer horizontaal
  • Materiaal vermiculiet
  • Bodemsteen vooraan (133 x 78 x 30 mm), Bodemsteen achteraan (135 x 81 x 30 mm)
  • Bodemsteen links (118 x 276 x 30 mm), Bodemsteen rechts (118 x 276 x 30 mm)
  • Items 3.1, 3.2, 3.3 in de explosietekening
Eigenschaften "Oranier Skagen Bodemsteen Set B"
Fabrikant: Oranier
Model: Skagen
Onderdeel art: Bodemsteen
Type 2: Type 4651

EU-vertegenwoordiger

Oranier Heiztechnik GmbH
Oranier Straße 1
35708 Haiger
DE
info@oranier.com

Fabrikant

Oranier


DE

Vergelijkbare producten

Oranier Skagen vlamplaat onder B
Origineel vlamplaat onder B voor de Houtkachel Oranier Skagen Type 4651 Er zijn verschillende baksteenbekledingen voor dit model. Raadpleeg de serie van uw apparaat. De ervaring heeft geleerd dat deze brandkamersteen geschikt is voor Serie 2. Oranier Skagen Type 4651 vlamplaat onder Kerngegevens: rookafleider, vlamplaat Vermiculietsteen Afmetingen (B/L/H) 420 mm x 255 mm x 25 mm Materiaal Vermiculiet Positie 3.4 in de exploderende weergave
Productnummer: 01016060

€ 40,61*¹

Beschikbaar, levertijd: 4-6 dagen

Uitverkocht
Oranier Skagen Glasruit B
Origineel Glasruit B voor de Houtkachel Oranier Skagen De fabrikant heeft de productie van dit artikel stopgezet. Als we een resterende voorraad hebben, is dit reserveonderdeel bij ons verkrijgbaar. De ervaring leert dat deze glasafdichting geschikt is voor serie 2. Oranier Skagen Glasruit Kerngegevens: glaskeramiek, glasplaat Afmetingen (B/L/H) 348 mm x 445 mm x 4 mm Materiaal Glas Vorm rechthoekig hittebestendig Positie 12 in de exploderende weergave
Productnummer: 01016494

€ 131,89*¹

niet langer verkrijgbaar, productie stopgezet

Nog 2 op voorraad!
Oranier Skagen vlamplaat midden B
Origineel vlamplaat midden B voor de Houtkachel Oranier Skagen Type 4651 Er zijn verschillende baksteenbekledingen voor dit model. Raadpleeg de serie van uw apparaat. De ervaring heeft geleerd dat deze brandkamersteen geschikt is voor Serie 2. Oranier Skagen Type 4651 vlamplaat midden Kerngegevens: rookafleider, omleiding Afmetingen (B/L/H) 420 mm x 177 mm x 25 mm Materiaal Skamol Vorm rechthoekig Positie 3.5 in de exploderende weergave
Productnummer: 01016965

€ 34,44*¹

Beschikbaar, levertijd: 4-6 dagen

Oranier Skagen Deurafdichting B
Deurafdichting B voor de Houtkachel Oranier Skagen Type 4651 De ervaring leert dat deze afdichting past bij Serie 2. Voor de montage van deze afdichting is een lijm nodig. We raden ook tie-offs en aansluitmouwen aan voor de uiteinden van het koord. Oranier Skagen Type 4651 Deurafdichting Kerngegevens: afdichtingskoord, kachelkoord Lengte 3,00 m Diameter 10 mm Positie rot markiert in de exploderende weergave
Productnummer: 01018066

Inhoud: 3 meter (€ 8,02*¹ / 1 meter)

€ 24,06*¹

Beschikbaar, levertijd: 4-6 dagen

Oranier Skagen Asrooster B
Origineel Asrooster B voor de Houtkachel Oranier Skagen Type 4651 De ervaring leert dat dit asbakrooster geschikt is voor serie 2. Oranier Skagen Type 4651 Asrooster Kerngegevens: verbrandingskamerrooster, stokrooster Afmetingen (B/L/H) 135 mm x 135 mm x 30 mm Materiaal Gieten Vorm vierkant
Productnummer: 01018517

€ 53,39*¹

Beschikbaar, levertijd: 4-6 dagen

Nog 1 op voorraad!
Oranier Skagen binnenwerk B
Origineel binnenwerk B voor de Houtkachel Oranier Skagen Type 4651 Er zijn verschillende baksteenbekledingen voor dit model. Raadpleeg de serie van uw apparaat. De ervaring heeft geleerd dat deze brandkamerstenen geschikt zijn voor serie 2. De fabrikant heeft de voormalige 1-delige achtermuursteen omgebouwd tot een 2-delige achtermuur. 13-delige set Oranier Skagen Type 4651 binnenwerk Kerngegevens: Bekleding vuurhaard, bakstenen verbrandingskamer Materiaal vermiculiet Bodemsteen voorzijde (133 x 78 x 30 mm), Bodemsteen achterzijde (133 x 58 x 30 mm) Bodemsteen links (118 x 276 x 30 mm), Bodemsteen rechts (118 x 276 x 30 mm) Zijsteen links (278 x 244/450 x 25 mm), zijsteen rechts (278 x 244/450 x 25 mm) Achterste muur steen links (213 x 240 x 25 mm), Achterste muur steen rechts (213 x 240 x 25 mm) Spanningsomleiding boven (195 x 135 x 25 mm), Spanningsomleiding onder (420 x 255 x 25 mm) Spanningsomleiding midden (420 x 177 x 25 mm) Afscherming onder (400 x 250 x 25 mm), afscherming boven (420 x 155 x 25 mm)
Productnummer: 01019366

€ 244,54*¹

Beschikbaar, levertijd: 4-6 dagen

Oranier Skagen glasruit afdichting
glasruit afdichting voor de Houtkachel Oranier Skagen Type 4651 De ervaring leert dat deze glasafdichting geschikt is voor serie 2. Oranier Skagen Type 4651 glasruit afdichting Kerngegevens: afdichtingskoord, glaslint Holle koordafdichting Lengte 2,00 m Diameter 6 mm zelfklevend
Productnummer: 01019755

Inhoud: 2 meter (€ 12,34*¹ / 1 meter)

€ 24,68*¹

Beschikbaar, levertijd: 4-6 dagen