Oranier Type 4654-6 Zijsteen rechts achteraan D
Zijsteen / brandkamersteen / verbrandingskamersteen / zijsteen uit het binnenwerk / binnensteen zijkant / zijwand
€ 44,49*
                                            
                            Inhoud:
                        
                    
                                            
                            1 stuks
                        
                    
                                    
                        
                            
                            
                    Productnummer:
                
            
                            
                
                    01021588
                
                    
                        
    
                                Beschikbaar, levertijd: 4-6 dagen
                                                                    Vergelijkbare producten
                                                            
                            
                        
                                                 € 73,62*
                                            
                                        
                                                                            
                                                 € 356,91*
                                            
                                        
                                                                            
                                    
                    Productnummer:
                
            
                                    
                
                    01021588
                
                            
                    
        
    
                        
                        
    
    Productinformatie "Oranier Type 4654-6 Zijsteen rechts achteraan D"
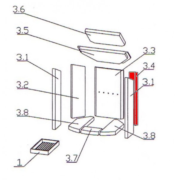
Origineel Zijsteen rechts achteraan D voor de Houtkachel Oranier Type 4654-6
- Er zijn verschillende baksteenbekledingen voor dit model. Zie de afmetingen van de brandkamerstenen.
- De ervaring heeft geleerd dat deze brandkamersteen in de verbrandingskamer is geïnstalleerd, met als opvallende kenmerken de onderste baksteen aan de voorzijde (152x95x30 mm) en de zijsteen aan de linker voorzijde (121 x 455/520 x 25 mm).
Oranier Type 4654-6 Zijsteen rechts achteraan Kerngegevens:
- verbrandingskamersteen, zijsteen uit het binnenwerk
- Vermiculietstenen
- Afmetingen (B/L/H) 117 mm x 410/457 mm x 25 mm
- Materiaal Vermiculiet
- Positie 3.4 in de exploderende weergave
                                                                                                        Eigenschaften "Oranier Type 4654-6 Zijsteen rechts achteraan D"
                                                            
                                            
                                                                | Fabrikant: | Oranier | 
|---|---|
| Materiaal: | Vermiculiet | 
| Model: | Type 4654-6 | 
| Onderdeel art: | Zijsteen | 
EU-vertegenwoordiger
Oranier Heiztechnik GmbHOranier Straße 1
35708 Haiger
DE
info@oranier.com
Fabrikant
OranierDE
_400x400.webp?ts=1757318842) 
                                    _400x400.webp?ts=1757318576) 
                                    _400x400.webp?ts=1757319741) 
                                    _400x400.webp?ts=1757319902) 
                                    _400x400.webp?ts=1757318666) 
                                    _400x400.webp?ts=1757318492) 
                                    _400x400.webp?ts=1757320201) 
                                    _400x400.webp?ts=1757320249) 
                                     
                                         
                
        
                        