Ga naar de hoofdinhoud Ga naar de zoekopdracht Ga naar de hoofdnavigatie
Gratis verzending vanaf 399 €
Servicepartner voor meer dan 50 fabrikanten
Meer dan 40.000 reserveonderdelen in het assortiment
+10 jaar ervaring

Oranier Type 4654-6 Zijsteen Set D

Zijsteen /  brandkamersteen / verbrandingskamersteen / zijsteen uit het binnenwerk / binnensteen zijkant / zijwand

 

Productinformatie "Oranier Type 4654-6 Zijsteen Set D"

Origineel Zijsteen Set D voor de Houtkachel Oranier Type 4654-6

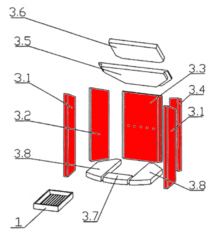
  • Er zijn verschillende baksteenbekledingen voor dit model. Zie de afmetingen van de brandkamerstenen.
  • De ervaring heeft geleerd dat deze brandkamerstenen in de verbrandingskamer zijn geïnstalleerd, met als opvallende kenmerken de onderste baksteen aan de voorzijde (152 x 95 x 30 mm) en de zijsteen aan de linker voorzijde (121 x 455/520 x 25 mm).
  • 5-delige set

Oranier Type 4654-6 Zijsteen Kerngegevens:

  • 5 stuks
  • Stenen set zijkant, stenen set verbrandingskamer zijkant
  • Materiaal vermiculiet
  • Zijsteen linksvoor (121 x 455/520 x 25 mm), zijsteen linksachter (117 x 457 x 25 mm)
  • Zijsteen rechtsvoor (121 x 455/520 x 25 mm), zijsteen rechtsachter (117 x 457 x 25 mm)
  • geperforeerde Achterste muur steen (218/250 x 414/407 x 25 mm)
  • Items 3.1, 3.2, 3.3, 3.4 in de explosietekening
Eigenschaften "Oranier Type 4654-6 Zijsteen Set D"
Fabrikant: Oranier
Materiaal: Vermiculiet
Model: Type 4654-6
Onderdeel art: Zijsteen

EU-vertegenwoordiger

Oranier Heiztechnik GmbH
Oranier Straße 1
35708 Haiger
DE
info@oranier.com

Fabrikant

Oranier


DE

Vergelijkbare producten

Oranier Type 4654-6 Asrooster
Origineel Asrooster voor de Houtkachel Oranier Type 4654-6 Oranier Type 4654-6 Asrooster Kerngegevens: gietijzeren rooster, grondrooster Afmetingen (B/L/H) 254 mm x 154 mm x 30 mm Materiaal Gieten Positie 1 in de exploderende weergave
Productnummer: 01016217

€ 73,62*¹

Beschikbaar, levertijd: 4-6 dagen

Oranier Type 4654-6 binnenwerk D
Origineel binnenwerk D voor de Houtkachel Oranier Type 4654-6 Er zijn verschillende baksteenbekledingen voor dit model. Zie de afmetingen van de brandkamerstenen. Opvallend aan deze voering is het bodemblok aan de voorzijde (152 x 95 x 30 mm) en het zijblok linksvoor (121 x 455/520 x 25 mm). 10-delige set Oranier Type 4654-6 binnenwerk Kerngegevens: Bekleding vuurhaard, bakstenen verbrandingskamer Materiaal vermiculiet Bodemsteen vooraan (152 x 95 x 30 mm) Bodemsteen rechts (115 x 340 x 30 mm), Bodemsteen links (115 x 340 x 30 mm) Zijsteen linksvoor (121 x 455/520 x 25 mm), zijsteen linksachter (117 x 457 x 25 mm) Zijsteen rechtsvoor (121 x 455/520 x 25 mm), zijsteen rechtsachter (117 x 457 x 25 mm) Achterste muur steen geperforeerd (218/250 x 414/407 x 25 mm) Spanningsomleiding onder (257/437 x 220 x 25 mm), Spanningsomleiding boven (302 x 205 x 25 mm)
Productnummer: 01020420

€ 356,91*¹

Levertijd ca. 2-3 weken