Ga naar de hoofdinhoud Ga naar de zoekopdracht Ga naar de hoofdnavigatie
Gratis verzending vanaf 399 €
Servicepartner voor meer dan 50 fabrikanten
Meer dan 40.000 reserveonderdelen in het assortiment
+10 jaar ervaring

Wodtke Ray air+ Luchtstroomsensor

Luchtstroomsensor /  luchtstroommeter / luchtsensor / massastroommeter / luchtdebietmeter

 

Productinformatie "Wodtke Ray air+ Luchtstroomsensor"

Origineel Luchtstroomsensor voor de Pelletkachel Wodtke Ray air+ PO 04.5-1 E

  • S4 & S5 controle als basis

Wodtke Ray air+ PO 04.5-1 E Luchtstroomsensor Kerngegevens:

  • luchtsensor, luchtdebietmeter
  • Afmetingen (B/L/H) 95 mm x 50 mm x 20 mm
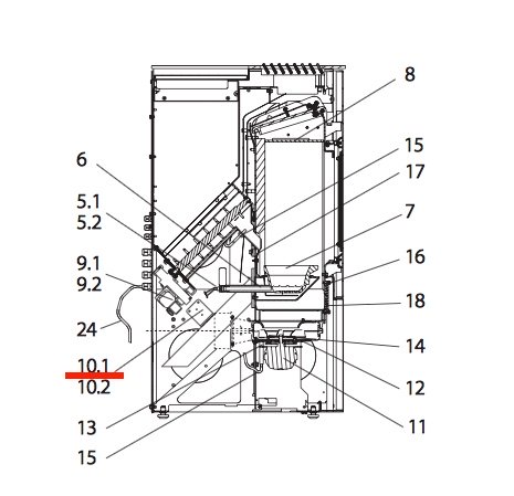
  • Positie 10.1 in de exploderende weergave
Eigenschaften "Wodtke Ray air+ Luchtstroomsensor"
Fabrikant: Wodtke
Model: Ray
Onderdeel art: Luchtstroomsensor
Type: air+
Type 2: PO 04.5-1 E

EU-vertegenwoordiger

wodtke GmbH
Rittweg 55 - 57
D-72070 Tübingen-Hirschau
DE
info@wodtke.com

Vergelijkbare producten

Wodtke Ray air+ Deurafdichting
Deurafdichting voor de Pelletkachel Wodtke Ray air+ Wij adviseren een lijm voor de installatie, die op een ondersteunende manier kan worden aangebracht. Wij raden ook afdichtingsbindmiddelen aan om te voorkomen dat de uiteinden van het afdichtingskoord gaan rafelen. Als optisch hoogtepunt bieden wij ook afdichtingsmanchetten aan. Wodtke Ray air+ Deurafdichting Kerngegevens: afdichtingskoord, afdichting Koordafdichting Lengte 3,00 m Diameter 12 mm
Productnummer: 01035787

€ 47,91*¹

Beschikbaar, levertijd: 4-6 dagen

Wodtke Ray air+ glasruit afdichting
glasruit afdichting voor de Pelletkachel Wodtke Ray air+ PO 04.5-1 E Wodtke Ray air+ PO 04.5-1 E glasruit afdichting Kerngegevens: afdichtingskoord, glaspakking Platte pakking Afmetingen (B/H) 8 mm x 2 mm Lengte 3,00 m zelfklevend
Productnummer: 01036319

Inhoud: 3 meter (€ 9,78*¹ / 1 meter)

€ 29,34*¹

Beschikbaar, levertijd: 4-6 dagen

Wodtke Ray air+ Glasruit
Origineel Glasruit voor de Pelletkachel Wodtke Ray air+ Wodtke Ray air+ Glasruit Kerngegevens: kijkvenster, ruitje Materiaal Glas Vorm vlak hittebestendig Positie 2.1 in de exploderende weergave
Productnummer: 01037155

€ 182,98*¹

Levertijd ca. 2-3 weken

Wodtke Ray air+ vlamplaat
Origineel vlamplaat voor de Pelletkachel Wodtke Ray air+ Wodtke Ray air+ vlamplaat Kerngegevens: omleiding, vlamplaat Afmetingen (B/L/H) 304 mm x 136 mm x 6 mm Materiaal Staal Positie 8 in de exploderende weergave
Productnummer: 01037543

€ 81,04*¹

Levertijd ca. 2-3 weken

Wodtke Ray air+ Achterste muur steen
Origineel Achterste muur steen voor de Pelletkachel Wodtke Ray air+ Wodtke Ray air+ Achterste muur steen Kerngegevens: Stookruimtesteen, binnensteen Positie 20 in de exploderende weergave
Productnummer: 01037966

€ 96,03*¹

Levertijd ca. 2-3 weken