Ga naar de hoofdinhoud Ga naar de zoekopdracht Ga naar de hoofdnavigatie
Gratis verzending vanaf 399 €
Servicepartner voor meer dan 50 fabrikanten
Meer dan 40.000 reserveonderdelen in het assortiment
+10 jaar ervaring

Wodtke Ray water+ Luchtstroomsensor

Luchtstroomsensor /  luchtstroommeter / luchtsensor / massastroommeter / luchtdebietmeter

 

Productinformatie "Wodtke Ray water+ Luchtstroomsensor"

Origineel Luchtstroomsensor voor de Pelletkachel Wodtke Ray water+

  • S4-regeling als basis

Wodtke Ray water+ Luchtstroomsensor Kerngegevens:

  • massastroommeter, luchtdebietmeter
  • Afmetingen (B/L/H) 95 mm x 50 mm x 20 mm
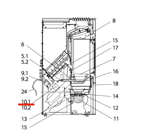
  • Positie 10.1 in de exploderende weergave
Eigenschaften "Wodtke Ray water+ Luchtstroomsensor"
Fabrikant: Wodtke
Model: Ray
Onderdeel art: Luchtstroomsensor
Type: water+

EU-vertegenwoordiger

wodtke GmbH
Rittweg 55 - 57
D-72070 Tübingen-Hirschau
DE
info@wodtke.com

Vergelijkbare producten

Wodtke Ray water+ Deurafdichting
Deurafdichting voor de Pelletkachel Wodtke Ray water+ Wij adviseren een lijm voor de installatie, die op een ondersteunende manier kan worden aangebracht. Wij raden ook afdichtingsbindmiddelen aan om te voorkomen dat de uiteinden van het afdichtingskoord gaan rafelen. Als optisch hoogtepunt bieden wij ook afdichtingsmanchetten aan. Wodtke Ray water+ Deurafdichting Kerngegevens: afdichting, pakking voor kacheldeurtjes Koordafdichting Lengte 3,00 m Diameter 12 mm
Productnummer: 01035789

€ 47,91*¹

Beschikbaar, levertijd: 4-6 dagen

Wodtke Ray water+ glasruit afdichting
glasruit afdichting voor de Pelletkachel Wodtke Ray water+ PO 04.5-1 E WW Wodtke Ray water+ PO 04.5-1 E WW glasruit afdichting Kerngegevens: pakking voor glasruit, dichting glas Platte pakking Afmetingen (B/H) 8 mm x 2 mm Lengte 3,00 m zelfklevend
Productnummer: 01036326

Inhoud: 3 meter (€ 9,78*¹ / 1 meter)

€ 29,34*¹

Beschikbaar, levertijd: 4-6 dagen

Wodtke Ray water+ Glasruit
Origineel Glasruit voor de Pelletkachel Wodtke Ray water+ Wodtke Ray water+ Glasruit Kerngegevens: glaskeramiek, venster Materiaal Glas Vorm vlak hittebestendig Positie 2.1 in de exploderende weergave
Productnummer: 01037156

€ 182,98*¹

Levertijd ca. 2-3 weken

Wodtke Ray water+ vlamplaat onder
Origineel vlamplaat onder voor de Pelletkachel Wodtke Ray water+ Wodtke Ray water+ vlamplaat onder Kerngegevens: rookgasomleiding, spanningsomleiding Afmetingen (B/L/H) 275 mm x 120 mm x 15 mm Materiaal Staal Positie 9 in de exploderende weergave
Productnummer: 01037550

€ 84,00*¹

Levertijd ca. 2-3 weken